


一、發布依據
《廣州市人才綠卡制度》(穗府辦規〔2016〕5號);
《中共廣州市委組織部 廣州市人力資源和社會保障局關于下放廣州市人才綠卡行政審核事權的通知》(穗組通〔2019〕53號);
《 廣州市番禺區人力資源和社會保障局關于印發〈廣州市番禺區落實廣州市人才綠卡審核事權實施辦法〉的通知》(番人社規〔2020〕1號)。
二、適用范圍
在廣州市番禺區工作、創業的非本市戶籍國內外優秀人才,可申領廣州市人才綠卡,作為在我市居住、工作的證明,可用于辦理個人事務。
三、申領條件
凡符合本區引進人才需求,每年在本區創業或工作超過6個月的,非廣州市戶籍的境內居民,香港特別行政區、澳門特別行政區居民,臺灣地區居民以及外國人,持中國護照、擁有國外永久(長期)居留權且國內無戶籍的留學人員和其他人員,在廣州市有合法住所,符合以下條件之一的,可申領人才綠卡。
(一)經廣州市認定或審核確認的高層次、高技能人才,包括:
1.中國科學院或中國工程院院士。
2.享受國務院特殊津貼人員,入選國家相關人才支持計劃專家,全國杰出專業技術人才,國家、省(部)級突出貢獻中青年專家,國家重點學科、重點實驗室學術技術帶頭人, “中華技能大獎”獲得者,全國和省級技術能手,世界技能大賽獲獎選手。
3.國家和省(部)級自然科學獎、技術發明獎、科技進步獎項目主要完成人,“珠江人才計劃”、“廣東省培養高層次人才特殊支持計劃”等省級人才工程入選者。
4.在本市年度重點項目主要承辦單位,或本市戰略性主導產業重點項目主要承辦單位,或本市認定的總部企業等,現擔任中高級管理職務或任職骨干技術崗位的人員。
5.廣州市杰出專家、優秀專家、青年后備人才,廣州市“百人計劃”入選者,廣州市產業領軍人才,以及經廣州市認定或審核確認的其他高層次、高技能人才。
(二)具有一定海外工作、學習和創新創業經歷經驗的海外高層次人才,包括:
1.在國外著名高校、科研院所擔任相當于副教授以上職務的專家學者。
2.在國際知名企業(或世界500強企業)從事3年以上研發、管理等工作并擔任過中高級職務的人才。
3.掌握核心技術,擁有自主知識產權,且技術成果達到國際先進或國內領先水平,具有較好的市場前景和產業化潛力的領軍型人才。
4.有豐富的海外創新創業經歷,并在本市、區重點產業領域中帶技術、帶項目、帶資金來區創業,有助于提升我區相關產業發展水平的領軍型人才。
(三)具有正高級以上專業技術資格,并具有相關領域從業經歷10年以上的專家。
(四)具有全日制普通高等教育研究生學歷并有博士學位的人員;或具有雙一流大學(A類和B類)全日制普通高等教育研究生學歷并有碩士學位的人員;或具有全球前500名的境外一流大學全日制研究生學歷并有碩士以上學位的人員。
(五)具有高級技師職業資格,所從事的工種(崗位)符合廣州市緊缺工種(職業)目錄的人才。
(六)持有《外國專家證》或《中華人民共和國外國人工作許可證》(A類)的高端外籍人才。
(七)工資性年收入達到60萬元人民幣以上,且年繳納個人所得稅達到12萬元人民幣以上在我區就業的港澳臺人員及外籍人員。
(八)符合我市經濟社會發展需要,經有關部門認定具有某種特殊技能或專長的人才。
(九)通過《番禺區創新創業領軍人才引進支持辦法》、《番禺區產業領軍人才貢獻獎勵辦法》獲得獎勵或資助的各類人才(《番禺區產業領軍人才獎勵辦法》第三章的“產業急需緊缺人才”和第四章“企業人才培育成長”專項獲評的人才除外)。
(十)經教育、衛生部門認定的教育衛生類高層次人才。
(十一)在以下三類重點企業中擔任高級管理職務或技術骨干人員:
1.本區年度重點項目中的產業建設項目和總部項目(區發改局提供);
2.上年度本區工業50強重點企業;上年度本區商貿服務業30強重點企業(區科工商信局提供);
3.上年度本區不超過20個重大招商引資項目(區投資促進中心提供)。
上述三類企業和人才名單,分別由區發改局、區科工商信局、區投資促進中心研究確定。
四、關于申領條件的補充說明
(一)人才綠卡申領人原則上年齡應小于55周歲,特殊情況可適度放寬。
(二)主卡成功申領滿1年之后,方可申領相關副卡。
(三)按照申領條件第(一)款第4點之“現擔任中高級管理職務”申請、且本人年齡在45周歲以下的,應具備全日制本科以上(含本科)學歷。
(四)按照申領條件第(一)款第4點之“任職骨干技術崗位的人員”申請的,還應具備以下條件之一:
1.擁有副高以上(含副高)專業技術資格。
2.擁有高級技師資格,且取得高級技師資格3年以上。
(五)按照申領條件第(四)款之“具有全球前500名的境外一流大學全日制研究生學歷并有碩士以上學位的人員”申請的,所讀學校為中外合作辦學的,應有1年以上海外校區學習經歷。
(六)按照申領條件第(五)款申請的,須同時具備以下兩個條件:
1.擁有高級技師資格,且取得高級技師資格3年以上。金融、民航等領域從業人員,無法提供高級技師資格證書的,應提供由市級以上行業主管部門出具的相當于高級技師資格的證明文件。
2.從事緊缺工種10年以上。
(七)按照申領條件第(八)款申請的,應由市直行業主管部門或區黨委組織部認定,并經市人才辦核準。
(八)按照申領條件第(十)款申請需提供相關部門出具的聘書、獲獎證書、榮譽證書、入選通知書或批準文件等證明材料。
1.教育高層次人才主要包括:
(1)具有正高級專業技術資格的校長、教師。
(2)國家級名校長、名教師,省級“特支計劃”教學名師,省級特級教師。
(3)獲得國家級教學成果獎二等獎以上的成果主持人。
(4)省級名校長或名教師,知名學校的校級領導,省級優秀教師,省級優秀班主任,副省級城市以上學科帶頭人。
(5)獲得省級教學成果獎特等獎或一等獎的成果主持人。
2. 衛生高層次人才,主要包括:
(1)具有衛生系列正高級專業技術資格的醫務人員;
(2)省級或以上名醫、名中醫等稱號獲得者;
(3)市級或以上衛生行政主管部門認定的高層次衛生人才。
(九)按照申領條件第(十一)款申請的,申領人所在單位應向相關主管部門提出申請,由主管部門核定。須具備以下條件之一:
1.高層管理人員:高層管理職務包括企業正、副(總)經理、各職能總師、總監及其他類似公司管理層的職務。
2. 骨干技術崗位的人員:“擁有副高以上(含副高)專業技術資格”,或“擁有高級技師資格,且取得高級技師資格3年以上”。
五、相關待遇
人才綠卡持有人可按照《廣州市人才綠卡制度》第五條的規定,享受辦理長期居留證件和R字簽證、子女入學、購房購車、辦理營業執照等一系列待遇。具體見《廣州市人才綠卡制度》(穗府辦規〔2016〕5號)。
六、申報材料
(一)申領主卡
需提供兩類材料:一是申領人基本申報材料,二是針對不同申領條件所需的專項申報材料。
申領人基本信息材料包括:
1.由人才綠卡管理系統自動生成的、且經申領人本人簽名確認并加蓋單位公章的《廣州市人才綠卡申請表》。
2.符合中華人民共和國第二代身份證制作標準的電子相片。
3.學歷、學位證書。
4.有效的身份證明:
(1)具有外國國籍的提交本人有效護照,具有港澳臺身份的,提交本人有效的《港澳居民來往內地通行證》或《臺灣居民來往大陸通行證》。
(2)取得外國永久(長期)居住權、仍持有中國護照的人員,提交本人護照和外國永久居留證明。
注:境外申領人已經入境的,須提供合法的入境證明。
(3)境內非廣州戶籍的人員,提交本人居民身份證和戶口簿。
5.聘任書、聘用合同或者勞動合同,且合同有效期自申報綠卡之日起不少于6個月。
6.在廣州的合法住所證明:房產證或有效期6個月以上的房屋租賃合同等。
7.申領人所在單位在省參加社會保險的,還須提供單位在省連續參加社會保險的歷史繳費記錄(在廣州市參保并可查詢的不用提交)。
專項申報材料包括但不限于以下材料:
1.符合申領條件第(一)款第1、2、3、5點的,提供相關聘書、獲獎證書、榮譽證書、入選通知書或批準文件等高層次人才證明材料。符合第4點的,提供:①政府關于年度重點項目計劃主要承辦單位、或戰略性主導產業重點項目主要承辦單位、總部企業等最新年度認定文件;②重點項目主要承辦單位或總部企業的營業執照、管理層的組織架構圖;③擔任中層及以上管理職務的任職命令文件,擔任主要技術骨干的工作經歷、業績證明,以及相關的學歷學位證書、副高級專業技術資格證書或高級技師證書等;④申領人近6個月的個人所得稅納稅明細。
2. 符合申領條件第(二)款第1點的,提供海外從事任教、科研等工作的經歷證明及專業技術資格證書;符合第2點的,提供在海外國際知名企業、世界500強企業擔任過研發、管理部門中高級職務的任職文件;符合第3點的,提供在海外工作、學習和創新創業期間的核心技術成果簡介或專利技術名稱及專利授權號;符合第4點的,提供在海外創新創業和來穗創業投資或者經營業績的相關證明。
3.符合申領條件第(三)款的,提供正高級專業技術資格證書以及近10年從事相關專業的工作履歷證明。
4.符合申領條件第(四)款的,提供研究生學歷及博士或碩士學位證書,或者境外碩士研究生學歷學位證書、教育部留學服務中心出具的學歷學位認定書、就讀境外大學的最新年度全球綜合排名網上截圖(上海交通大學發布的世界大學學術排名ARWU、英國泰晤士高等教育發布的THE世界大學排名、英國Quacquarelli Symonds 公司發布的QS 世界大學排名,提供任一排名均可)。
5.符合申領條件第(五)款的,提供:①高級技師證書、證書網上查詢截圖、申領人參與培訓與考試的報名表、準考證等相關證明材料;②用人單位的營業執照及主營業務范圍;③近10年從事緊缺工種履歷證明和社保記錄;④如申領人是在外省市培訓并考取高級技師證書的,還應提供申領人在所在城市考證時的單位工作證明、勞動合同、社保繳費記錄(或納稅證明)或在校學習(培訓)證明等。
6.符合申領條件第(六)款的,提供:有效的外國專家證或中華人民共和國外國人工作許可證(A類)。
7.符合申領條件第(七)款的,提供申領人收入證明和納稅證明。
8.符合申領條件第(十一)款的,申領人須提供相關部門出具的證明材料,以及擔任高層管理職務的任職文件、企業管理層組織架構圖或擔任骨干技術崗位人員的工作經歷、業績證明。
(二)申領副卡
人才綠卡持有人可為隨行配偶、未成年子女、父母、配偶父母等親屬申領人才綠卡副證,除提供主證、基本信息材料(主卡基本信息中的1、2、4點,其中申請表為副卡申請表)外,還應提供以下相關材料:
1.為配偶申請副卡時,提供婚姻關系證明、配偶基本信息材料。
2.為子女申請副卡時,提供子女醫學出生證明、子女基本信息材料。
3.為父母申請副卡時,提供包含申領人本人與其父母的戶口簿或派出所有效證明、父母基本信息材料。
4.為配偶父母申請副卡時,提供主卡人與配偶的婚姻關系證明,以及包含配偶本人與其父母的戶口簿或派出所有效證明、配偶父母基本信息材料。
(三)變更、補辦、續辦綠卡。
1.變更綠卡,持卡人因工作單位或居住地等情況發生變化,應在30天內提供變更要素證明和原綠卡證復印件辦理變更。
2.補辦綠卡,提供補辦原因說明、原綠卡證復印件或綠卡證號和身份證。
3.續辦綠卡,綠卡期滿的,應當在期滿前30天提供原綠卡證復印件和續簽合同或新的有效身份證明等材料辦理續期。如申請續辦時原申報條件已發生改變,則需按新的申報條件重新提供有關申報材料。
七、申領流程
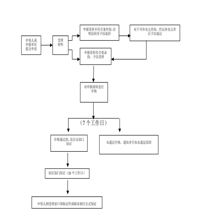
廣州市人才綠卡申領全流程包括:申請—核定—制證—發證,申領過程在網上完成,不接受紙質材料申報,具體如下:
(一)網上申請。申領人登錄“廣州市人才綠卡管理系統” https://gzrsj.hrssgz.gov.cn/vsgzhr/login_rclk2.aspx,按相關流程指引填報、上傳相關報表和附件材料,具體操作詳見《廣州市人才綠卡管理系統個人業務申報操作指南》。申請表上的相片須與提交的電子相片一致;申請表在網上填寫完后,須下載、打印,經申領人簽名確認和加蓋單位公章,與申報材料一并上傳到系統附件中。
注:按照申領條件第(十一)款申請的,由申領人所在單位向主管部門提出申請,經主管部門審核通過并在區政府門戶網站進行公示后,申領人方可在系統進行網上申請。
(二)后臺審核。申領人提交申報材料后,受理窗口進行初審和復核,報區人社局進行終審,在7個工作日內完成審核認定。如申報材料不符合要求,則進行退案處理并要求申領人補充提交材料。退案后,審核認定期限自再次補交材料時重新起算。申領人可隨時登錄人才綠卡管理系統查詢審核和后續辦理進程。申報材料存疑的,申領人須配合查驗或提供相關佐證材料。
(三)公安制證。經審核認定符合條件的,轉至市公安局制證。市公安局按《廣州市人才綠卡申領指南》在15個工作日內完成制證。
(四)窗口發證。市公安局完成人才綠卡制作后,按《廣州市人才綠卡申領指南》在3個工作日內送受理窗口。申領人可選擇現場或郵寄到付方式領證(詳見下圖)。

八、受理窗口:廣州市番禺區人才交流管理辦公室
地址:廣州市番禺區市橋街橋興大道10號
番禺人才大樓5樓
咨詢電話:020-37759119、020-84699661
工作時間:周一至周五(法定節假日除外),上午09:00—12:00,下午14:00—18:00
九、注意事項
(一)所提供的材料按照先基本信息材料、后專項材料的順序將原件掃描件上傳至人才綠卡管理系統附件,如系外文證明材料還應提供合法機構出具的中文翻譯件。上傳前,如系個人申請表和身份信息材料,申領人必須進行個人簽名確認;如系單位證明,則需加蓋單位公章。
(二)在審核過程中,區人社局如對申報材料存疑的,可以要求申領人補充提供其他相關佐證材料。
(三)申請單位和申領人須對所提供材料的真實性和合法性負責,如發現單位或個人提供虛假證明材料和信息,或與不法機構合作騙取人才綠卡的,一經查實,將列入誠信黑名單,并取消申領人申報資格和申請單位3年內申辦資格,已發放的人才綠卡將收回并注銷。涉及違法的,移送相關部門處理。
(四)相關單位和申領人如需核實人才綠卡持卡人身份、人才綠卡真偽等信息,可登錄 “廣州市人才綠卡在線查詢系統” 輸入持卡人的姓名、身份證號和人才綠卡卡號進行查詢,網址為:http://gzrsj.hrssgz.gov.cn/vsgz21rclk/GreenCardSearch.aspx。
關注 · 廣州政府網